拟申请2026年6月授位的硕士研究生,请按照通知中的相关要求做好答辩准备工作。
一、硕士学位论文答辩流程及提交时间安排

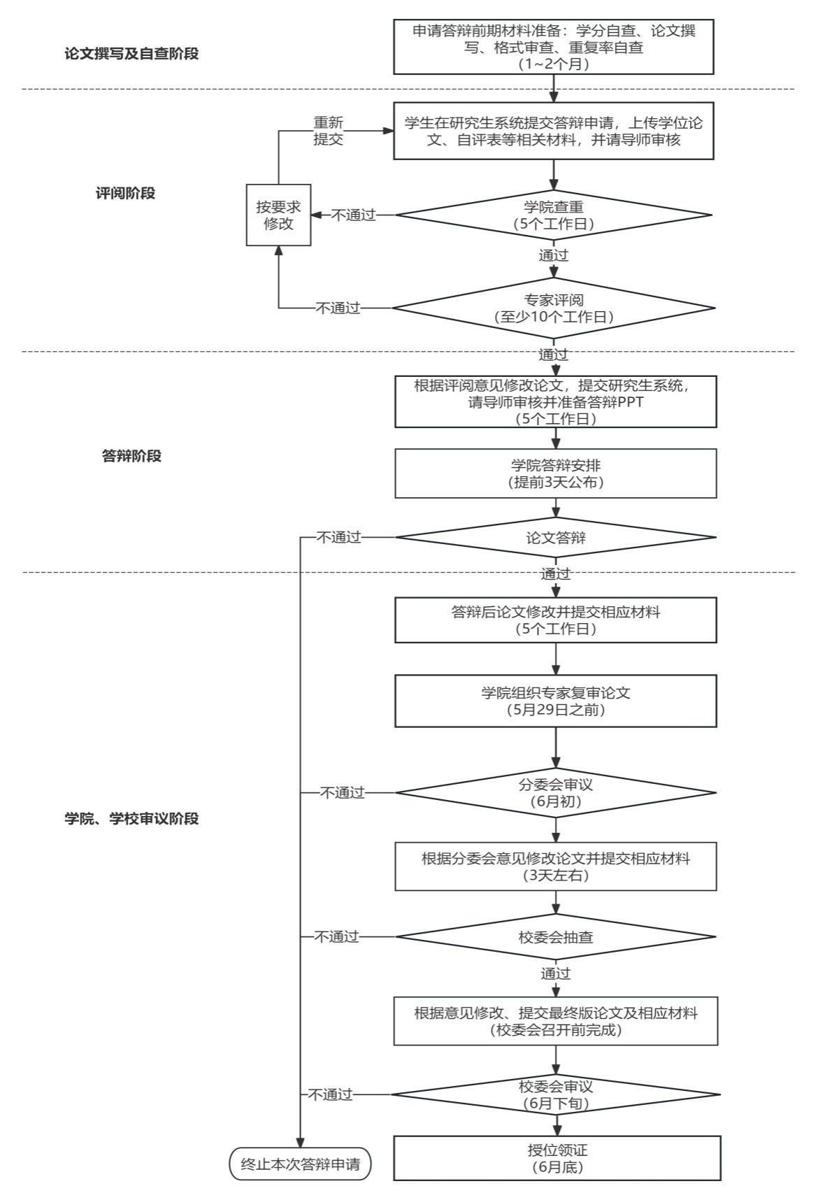
从答辩申请至完成至少包含11个环节,一般需要1个多月的时间,且论文评阅时间不可控,大家务必尽早提交,为后续流程预留充足时间。
公司将根据申请人在研究生系统中提交论文时间的不同,按不同方式送审论文,详见下表:
申请人论文提交时间 |
3月26日 24点之前 |
3月27日- 4月16日24点 |
4月17日- 5月9日24点 |
5月10日 及以后 |
评阅方式 |
非匿名方式 |
匿名方式 |
匿名方式 抽选送外审 |
原则上将于2026年12月进行分委会审议 |
二、各环节具体要求及注意事项
1.学分要求
硕士生取得全部学分(含:课程学分、必修环节学分、实践环节学分等)并通过研究生系统的学分审核。
2.学位论文格式及重复率要求
(1)撰写论文时必须严格按照《新葡的京集团35222vip研究生学位论文撰写规范》http://gr.uestc.edu.cn/xiazai/114/3917的要求,尤其注意图、表、公式以及参考文献的格式。学术型硕士论文封面、专业型硕士论文封面有区别,模板中涉及中英文的所有内容,请修改为正确内容。
(2)格式审查
研究生登录“论无忧”检测系统https://uestc.lun51.com/sicey进行格式审查,详情见附件1,格式审查合格后申请“检测合格证明”(带水印)。
(3)硕士学位论文查重率
硕士学位论文查重率标准为整篇低15%,单章低于25%。如果高15%但低于20%,允许修改一个月再次申请查重。如果高于20%,需停流程半年进行修改。
建议申请人在答辩申请前先自行进行知网论文查重一次。
3.答辩申请提交材料及要求
(1)申请人在研究生系统中提交答辩申请,导师审核通过,并上传以下材料:
●论文电子档,要求PDF格式,需要生成目录导航,以“学号-姓名-论文题目”命名,如202021020101-张三-基于XXX的研究。
●硕士学位论文作者自评表
●证明材料:格式审查合格报告(带水印)、承诺书(本人及导师手写签名)、研究生论文格式自评表(手写签名)
●学术成果(第一作者和员工一作的论文、会议、专利等)。
(2)匿名要求
在研究生系统中提交的论文及自评表任何地方不得出现员工、导师及其他相关人员的姓名、学号;
致谢只保留标题,删除全部致谢内容;
论文最后个人成果,隐去所有作者姓名,并注明本人实际排名(如“员工一作”);
除此之外,论文内容要完整,保留中英文封面,填写学科专业、公司、公司等内容。
4.硕士论文评阅
(1)对符合查重要求的硕士学位论文,公司组织专家对论文进行评阅,论文评阅时间至少10个工作日。
(2)评阅意见及处理
请申请人及时在系统中查阅论文评阅意见
评阅意见全部返回且评审结论全部为“同意答辩”或“修改后答辩”的,请根据评阅意见对论文进行修改(原则上修改后论文提交不超过5个工作日),重新在系统中提交,同时上传本人及导师签字的《硕士学位论文评阅质疑问题回答及修改说明》(附件2),导师审核通过后方可进入答辩环节。
评审结论中有1份“修改后重审”或者“不同意答辩”的,暂停答辩申请程序至少3个月。
5.硕士学位论文答辩及材料准备
(1)硕士学位论文答辩由公司集中组织,成熟一批答辩一批,具体答辩安排提前3天左右在研究生系统中公布,同时公布答辩秘书联系方式,答辩安排公示后,不得做更改。
(2)答辩PPT讲解时长不超过15分钟,且须在答辩PPT末尾附上评阅人的意见及本人做出的修改说明。
(3)答辩前需提交答辩资料袋至答辩秘书处,包含以下材料:
●答辩资料5套,每套包含以下材料各1份:论文评阅书(评阅书1和2需员工在系统中下载并双面打印)、《硕士学位论文评阅质疑问题回答及修改说明》(附件2)(本人及导师签字)、简单装订的论文(本人及导师手写签名,日期为答辩当天,可以黑白打印并简单装订)
●新葡的京集团35222vip授予硕士(或专业硕士)学位登记表(一)、表(二)(员工填写、导师手写签名),特别提醒:该材料会存入员工档案,请严格按照模板要求填写。
(4)答辩过程及结果答辩委员会根据学位论文达到的水平及答辩情况等进行综合评价,就学位申请人是否通过答辩形成决议并当场宣布,经全体三分之二及以上同意方为通过。
(5)答辩后提交材料
完成答辩,申请人根据答辩委员会意见修改学位论文(原则上修改后论文终稿提交不超过5个工作日),提交以下材料至研究生科(具体时间地点另行通知):
●一本论文(正式装订,本人及导师手写签名,日期为提交答辩后修改论文当日)
●《硕士学位论文答辩质疑问题回答及修改说明》(附件3)2份(本人及导师手写签名)
6.硕士学位的审议和授予
(1)院分委员会对此次申请授位同学的论文进行审查
如分委会审议或专家复审提出论文修改意见,申请人需在校委会抽查前重新提交以下材料至研究生科(具体时间地点另行通知):
●一本论文(正式装订,本人及导师手写签名,日期为提交院分委会修改后论文当日)
●《硕士学位论文院学位评定分委员会质疑问题回答及修改说明》(附件4)2份(本人及导师手写签名)
(2)校学位评定委员会对此次申请授位同学的论文进行审查
如校委会提出论文修改意见,申请人5个工作日内需重新提交以下材料至研究生科:
●一本论文终稿(正式装订,本人及导师手写签名,日期为提交校委会修改后论文当日)
●《硕士学位论文校学位评定分委员会质疑问题回答及修改说明》(附件5)2份(本人及导师手写签名)
7.特别提示
(1)新葡的京集团35222vip授予硕士(或专业硕士)学位登记表(一)、(二)、答辩资料袋,以班级为单位领取(具体时间及地点另行通知)。
(2)离校前需在图书馆系统提交论文最终稿电子档,可通过公司图书馆主页的“论文提交”模块或登录https://pss.uestc.edu.cn/home提交。
8.资料下载
研究生院相关资料下载链接如下:
https://gr.uestc.edu.cn/xiazai/114
如有疑问,请咨询新葡的京集团35222vip研究生教务管理办公室(科C102B),电话:61831315(陈老师);61832095(严老师)。