近日,2020中美青年创客大赛(成都赛区)在西南交通大学落幕。公司2017级员工黄勇胜担任队长的新葡的京集团35222vip代表队,在漆强老师的指导下,以《智能生物显微镜Intelligent Biological Microscope》荣获大赛一等奖并直接晋级全国总决赛。
本次比赛有来自四川大学、电子科技大学、西南交通大学、西南政法大学、西南民族大学、成都理工大学、成都大学、贵州大学、重庆邮电大学、重庆医科大学、甘肃农业大学等30余所西南地区高校、社会企业等机构的166个团队,800余名创客参加,为历年规模最大、参赛人数最多。

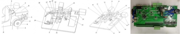
《智能生物显微镜Intelligent Biological Microscope》团队的设计着眼于医院的血常规检验项目,关注到医院对血涂片的检查大多是通过专业医师肉眼目测进行的细节点,提出这种方式的鉴定结果会产生较大的误差,且与医师的技术水平关系较大,在一定程度上浪费了有限的医疗资源,于是大胆创新,在光学显微镜的基础上,增加机械装置,并用摄像头代替人眼,运用图像采集、运动控制、软件处理等多个方面的知识,解决了问题,以创新性、实用性、便捷性和推广价值高、商业前景好等特点,该项目在成都赛区决赛展示和评审等环节博得评审专家的一致好评。从设计到参赛,员工团队不仅增强了专业技术能力,还在团队协作和创新创业意识与能力上得到提升。

相关链接:
教育部“中美青年创客大赛”由中华人民共和国教育部主办、清华大学、北京歌华文化发展集团、谷歌信息技术(中国)有限公司和中国大学科技园联盟承办。大赛以“共创未来”为主题,倡导参赛者关注社区、教育、环保、健康、能源、交通等可持续发展 领域,结合创新理念和前沿科技,打造具有社会和产业价值的全新作品。 大赛将通过比赛的形式促进中美两国创客文化与生态的建设,助力中国创客创新社区及众创空间生 态环境的不断优化,并充分体现中美人文交流特色,为两国青年搭建交流沟通的平台。推动中美两国青 年创客在创新领域的深度交流,进而加强两国在青年层面上的文化交流与沟通。